Онлайн с 2006 года – Проверенное качество
Более 100 000 товаров – Широкий ассортимент
Доставка с собственного склада – Быстрая отправка
Бесплатная доставка от 8000 ₴

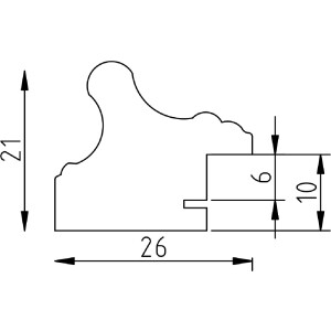
Фоторамка effect из дерева Профиль 44 серебристая 18x32 см с музеем стеклом

Массивная деревянная рамка барочного стиля, ламинированные профили, наклонный внешний край, ширина профилей 2,6 см, музея стекло с 70% защитой от УФ-излучения
Цвет 
Тип стекла 
Размер рамы картины 

3320,25 ₴
Вкл. 0% НДС , плюс стоимость доставки
Часто искали и нашли