Онлайн з 2006 року – Перевірена якість
Понад 100 000 товарів – Широкий асортимент
Доставка з власного складу – Швидка відправка
Безкоштовна доставка від 8000 ₴

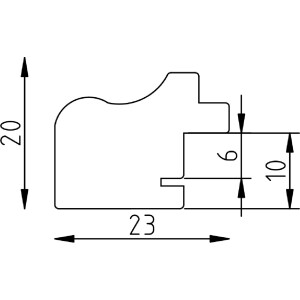
Дерев'яна рамка Profil 67 чорного кольору 25x60 см з музеєвим склом

Чорна дерев'яна рамка Profil 67, 25x60 см, ширина обрамлення 2,3 см, музеєве скло, захист від УФ-випромінювання на 70%, підходить для вертикального та горизонтального висування, стиль ландшафтного будинку
Колір 
Тип скла 
Розмір 

5428,49 ₴
Вкл. 0% ПДВ , плюс Витрати на доставку